鉅大鋰電 | 點擊量:0次 | 2018年09月07日
國內補鋰、預鋰化專利技術分析
硅碳材料的首次充放電效率低、膨脹大、長循環會帶來材料粉化問題、以及與相關電解液、膠的匹配問題始終困擾著相關的科研人員,因而,補鋰、預鋰化等技術越來越受到廣大科研人員的關注,并且在相關的領域已經有了一些進展。
隨著動力電池能量密度的不斷提升,現有負極材料的克容量以及壓實密度已經到了極限值,因而,硅碳材料的使用將是未來一段時間的熱點。與此同時,硅碳材料的首次充放電效率低、膨脹大、長循環會帶來材料粉化問題、以及與相關電解液、膠的匹配問題始終困擾著相關的科研人員,因而,補鋰、預鋰化等技術越來越受到廣大科研人員的關注,并且在相關的領域已經有了一些進展。本文將從相關專利入手,來分析目前國內補鋰、預鋰化的相關技術發展。
1.專利技術的整體分析:以“補鋰”“預鋰化”“鋰金屬負極”“鋰粉”“鋰帶”為關鍵詞進行專利檢索,按照時間和內容經過初步篩選,共篩選專利50份,其中國內專利40份,國際專利10份,并按照相關內容進行分類

以下將通過不同專利方向選出具有代表性的專利進行分析
2.預鋰化專利研究
首先是天津巴莫科技有限公司的專利,名字為鋰離子電池負極材料的預鋰化方法,具體技術如下圖所示:

首先將鋰金屬鋰嵌壓在集流體上,然后通過導線與負極相連,通過控特種線的阻值來控制預鋰化的速度;其次將嵌壓后的金屬鋰用不與電解液反應的物質(石蠟、隔膜、銅箔包裹起來,并在包裹表面預留兩個孔,通過控制孔的大小和導線的阻值大小來控制預鋰化速度,就從專利本身分析,實際上并不太具有大批量生產的可能性,最終的預鋰化結果也并不好評判。
第二篇是萬向A123的專利,名字為預鋰化的方法、包括該方法的制造鋰二次電池的方法以及有該方法制造的鋰二次電池,原理圖入下圖所示:

首先需要制備硅碳負極;其次,手套箱中,電解槽中二步電流電沉中,再次,浸泡在DMC中洗去表面鋰,最后,烘干后的到預鋰化的電極;通過控制電流的大小和時間達到沉積不同厚度的預鋰化硅碳負極。這個從技術角度分析,理論上確實可行,但在批量使用時如何實現預鋰化的自動化,也是具有難度的。
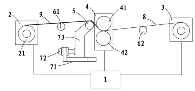
第三篇是合肥國軒的專利,名為一種鋰離子電池負極極片進行預鋰化的方法和裝置原理圖如下,實際和萬向的專利還是有類似之處的.

首先將負極片、隔膜、鋰片依次放入電解液中,鋰片與負極片不接觸;其次,外接電源,對負極片充電,控制電流0.05-2C以及充電時間來達到補鋰的目的。最后,得到極片烘干后得到預鋰化負極。
3.補鋰專利研究
首先是寧德時代的專利,CATL在補鋰方面做了很多的工作,相關專利也很多;第一篇為一種向鋰離子電池負極補充鋰粉的方法,原理如下:

首先通過投料裝置在密閉的空間里撒鋰粉;其次噴撒完,打開擋板和直流電源,在震動和電廠的作用下鋰粉均勻的噴撒在負極表面;通過控制走帶速度來控制補鋰的量;再次通過輥壓將鋰粉和負極壓在一起。這個專利實際上考量設備的能力,本身鋰粉比較輕,比表面積也比較大,如何控制精確補鋰,均勻補鋰,將是很大的難點。
第二篇依然是寧德時代的專利,名為一種向鋰離子電池負極片補鋰的方法,技術要點為,首先,.將鋰粉溶解于有機溶劑中,所述有機溶劑為聯苯和二甲氧基乙烷中的至少一種;其次,將有機鋰溶液噴灑或滴加于負極片表面;再次在惰性氣氛中,將負極片浸泡在有機鋰溶液中,使有機鋰溶液中的鋰離子被還原成金屬鋰并嵌入負極片中,然后干燥負極片;完成補鋰;通過噴撒、浸泡時間,溶液濃度等方面來控制補鋰量。問題依然是鋰粉的高活性以及環境的控制問題。
第三篇寧德時代的專利,名為極片鋰粉輥壓裝置及方法;通過包角輥5控制張力4上涂二甲基硅油防止粘輥,如下圖所示:

第四篇依然是寧德時代的專利,名為一種向鋰離子電池負極片雙面連續補充鋰粉的方法,通過一個專用設備可實現連續雙面負極補鋰,通過上下料斗振動器的頻率以及收放卷的速度來控制補鋰量,如下圖所示:

第五篇依然是寧德時代的專利,名為鋰離子電池極片的鋰粉處理系統及方法,在補鋰設備上增加了在線檢測系統,檢測鋰粉補鋰的均勻性,通過對采集的圖片進行細分處理,分成一定數量的小單元,通過分析各個小單元灰度數值顯示,確定出各個小單元是否補鋰;在每個周期采集的若干張圖片中,計算出未補鋰小單元的總面積,從而獲得未補鋰小單元總面積與所有小單元總面積的百分比;當未補鋰小單元總面積與所有小單元總面積的百分比小于某一數值(例如10%)時,規定為補鋰均勻;若補鋰不均勻,電信號觸發第一在線貼標裝置5啟動。

以上幾篇專利可以看出寧德時代在補鋰方面的巨大投入和進展,據老李了解,目前鋰帶補鋰是一個趨勢,難點在于如何把鋰帶壓到一個很薄的厚度,本身鋰是很軟的金屬,壓到很薄需要一些保護膜以及一些潤滑油來輔助,對設備以及工藝有著很高的要求,據悉寧德時代已經解決了這方面的問題,就讓我們拭目以待吧。
4.其他補鋰方式
首先是清華大學的一篇專利,名為一種鋰硫二次電池的制備方法,具體流程為蒸鍍補鋰,加熱溫度300-1000℃,真空室壓力0.01-0.001Pa,弧電流10-100A,時間1-10min,鋰沉積量5-50g/㎡。這個方法在小批量實驗應該是可實現的。
第二篇是洛陽力容新能源的一篇專利,名為固態電解質的鋰電池,原理圖如下:

首先,在陶瓷隔膜對負極的表面在涂覆一層補鋰層;其次補鋰層所用溶劑為NMP、粘結劑為丁苯橡膠、丁腈橡膠類物質,再次,正負極集流體均采用多孔集流體。和清華大學專利類似,只不過是在隔膜上進行鍍鋰,但是鍍鋰的溫度比較高,隔膜在高溫是否會收縮,是否會閉孔,以及鍍鋰量以及厚度的控制,都是需要深入研究的。
第三篇是南京大學的一篇專利,名為預鋰化負極制備方法和應用,方法為濕法預鋰,鋰金屬、電解質、負極組成原電池預鋰化,然后將預鋰化的負極勻漿涂布。但溶劑的選擇,工藝的控制、以及涂布參數和工藝、環境的控制,都是難點。
小結:從上述專利分析來看,鋰粉補鋰、鋰帶補鋰、電化學補鋰等技術在企業用的相對比較多,但目前市面上并沒有補鋰的產品面世,所以各項技術還是不太成熟,需要有所突破,不管是哪項技術的突破,都需要廣大科研工作者的努力。希望在不久的將來,能有相關補鋰的產品問世。










